Nintendo has filed a patent that details a new attachment for the Nintendo Switch Joy-Con that features a stylus.
According to GamesRadar, the patent was published on January 16, 2020, although it was initially filed in June 2019. It details a new attachment for the standard Joy-Con. Nintendo did not alter the actual Joy-Con in any way. The only difference is it has a stylus at the top of the controller.
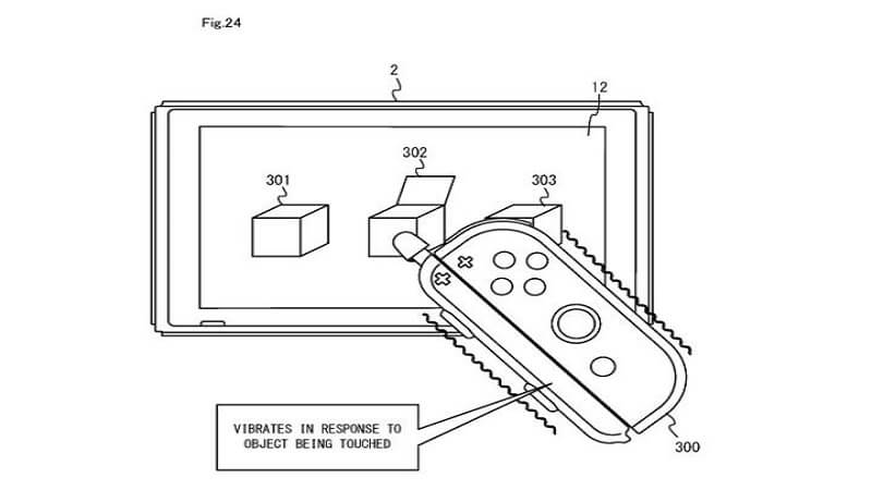
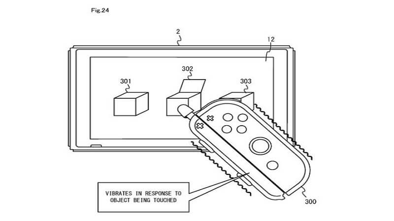
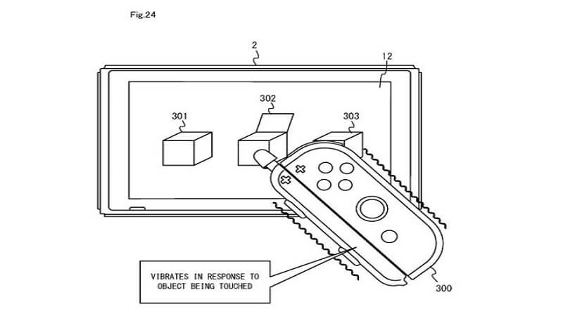
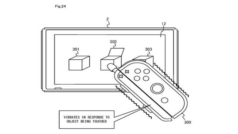
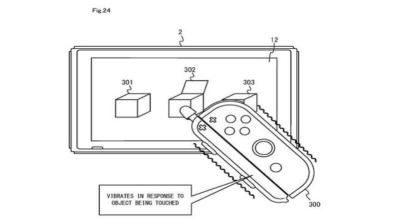
There is a lot of detail in the patent, with pictures showing how the attachment will slide onto the controller, much like the wrist strap attachment. Illustrations outline the touch pen’s versatility. For example, you can draw lines either thin or thick by pressing the x button on the controller. The stylus will also give the controller the ability to vibrate when touching certain objects on the screen.
Some games, such as Brain Age and Super Mario Maker 2, already utilize a stylus with the Nintendo Switch’s touch screen. This patent seems to be an indication of future investment in touch screen mechanics in the company’s future games. This can be viewed as a return to form, considering how many consoles of theirs have involved styluses (Nintendo DS, Wii U).
This isn’t shocking news from Nintendo, a company that is continually improving its systems and seeking new methods of play. Between their Nintendo Directs and Joy-Con attachments and color additions, they have been keeping things fresh.
In fact, there are rumors of a Nintendo Switch Pro coming this year. If this is true, Nintendo may be trying to close the power gap between the Switch, and it’s much more powerful counterparts, the PS4 and the 
In any case, it looks like Nintendo has developed a whole other method of play with the touch pen stylus attachment. Does a stylus Joy-Con attachment interest you? Are you excited about all of Nintendo’s announcements and progress recently? Let us know in the comments below.
 
									 
					


 
	
	




